开云体育

       0010.png

 应用描述

   受益于存量基站更新换代、5G基站大规模商业化,以及储能系统在发电侧、电网侧、用户侧的快速商业化,电力储能系统市场需求大增。电力储能系统通过一定介质存储电能,在需要时将所存能量释放发电,作为负荷平衡装置和备用电源提高电力系统的稳定性。锂电池作为一种性能优秀的存储介质,在电力储能市场运用越来越广泛。作为电力储能系统的重要组成部分,锂电池在高工作温度下,电池有自燃风险且寿命会降低;在户外应用环境恶劣,电池负载异常短路风险增高,因此电池包的安全性,可靠性等越来越受到关注和重视。

  针对电力储能系统锂电池包,CRMICRO 提供丰富的中低压MOS产品,极低的RDS(on)参数降低电池导通损耗,且提高整体效率,从而降低电池工作温度,提高电池寿命和安全性。优秀的EAS和SOA参数,更好的适应电池负载短路异常情况,提高电池包的可靠性。

 

  产品特色


极低的RDS(on)参数   优秀的EAS和SOA参数


 

 

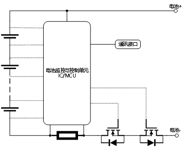
应用原理图

 

002.png;

 

 

 

  

典型应用拓扑图

 

003.png;      


 

 应用选型推荐

004.png;

 

 

产品列表
电力储能
产品型号 产品封装 产品类别
-1 0 共0页 0条记录 跳至: 确定
返回到开云体育-开云kaiyun(中国) 回到顶部